Product Summary
The PIC12C509A-04P is a CMOS Microcontroller. The PIC12C509A-04P from Microchip Technology is a family of low-cost, high performance, 8-bit, fully static, EEPROM/EPROM/ROM-based CMOS microcontrollers. It employs a RISC architecture with only 33 single word/single cycle instructions. All instructions are single cycle (1 ms) except for program branches which take two cycles. The PIC12C509A-04P delivers performance an order of magnitude higher than its competitors in the same price category. The 12-bit wide instructions are highly symmetrical resulting in 2:1 code compression over other 8-bit microcontrollers in its class. The easy to use and easy to remember instruction set reduces development time significantly. The PIC12C509A-04P products are equipped with special features that reduce system cost and power requirements. The Power-On Reset (POR) and Device Reset Timer (DRT) eliminate the need for external reset circuitry. There are four oscillator configurations to choose from, including INTRC internal oscillator mode and the power-saving LP (Low Power) oscillator mode. Power saving SLEEP mode, Watchdog Timer and code protection features also improve system cost, power and reliability.
Parametrics
PIC12C509A-04P absolute maximum ratings: (1)Ambient Temperature under bias: –40℃ to +125℃; (2)Storage Temperature: –65℃ to +150℃; (3)Voltage on VDD with respect to VSS: 0 to +7.5 V; (4)Voltage on MCLR with respect to VSS: 0 to +14 V; (5)Voltage on all other pins with respect to VSS: –0.6 V to (VDD + 0.6 V); (6)Total Power Dissipation(1): 700 mW; (7)Max. Current out of VSS pin: 200 mA; (8)Max. Current into VDD pin: 150 mA; (9)Input Clamp Current, IIK (VI < 0 or VI > VDD): ±20 mA; (10)Output Clamp Current, IOK (VO < 0 or VO > VDD): ±20 mA; (11)Max. Output Current sunk by any I/O pin: 25 mA; (12)Max. Output Current sourced by any I/O pin: 25 mA; (13)Max. Output Current sourced by I/O port (GPIO): 100 mA; (14)Max. Output Current sunk by I/O port (GPIO ): 100 mA.
Features
PIC12C509A-04P features: (1)8-bit real time clock/counter (TMR0) with 8-bit programmable prescaler; (2)Power-On Reset (POR); (3)Device Reset Timer (DRT); (4)Watchdog Timer (WDT) with its own on-chip RC oscillator for reliable operation; (5)Programmable code-protection; (6)1,000,000 erase/write cycle EEPROM data memory; (7)EEPROM data retention > 40 years; (8)Power saving SLEEP mode; (9)Wake-up from SLEEP on pin change; (10)Internal weak pull-ups on I/O pins; (11)Internal pull-up on MCLR pin.
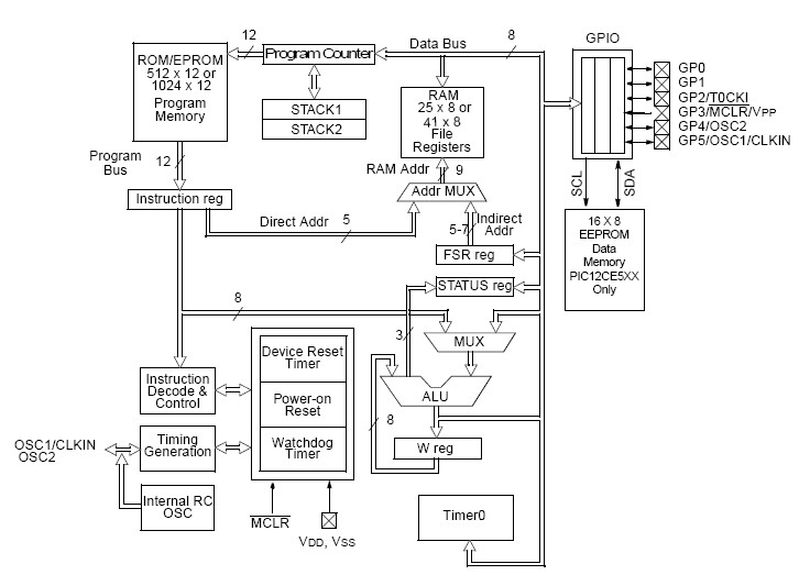
Diagrams

(Hong Kong)






